Ohio Contact replacement crane controls for Square D Class 5010 23" Type F Series A. When you locate the product(s) of your choice, please call 800–310–5999 or click on the part number below to email inquiry for pricing, availability or questions you need answered!

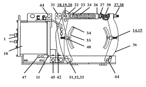
| Item No. | OEM No. | Description |
|---|---|---|
| 1 | 50908-143-50 | Magnet Case Cover Assembly |
| 4 | 50908-167-01 | Terminal Shield |
| 5 | 50908-166-01 | Lead Bushing |
| 6 | 29206-00761 | O" ring |
| 8 | 21008-06120 | Drive Screw |
| 10 | 50908-102-50 | Base and Magnet Case Assembly |
| 11 | 50908-121-50 | Armature Assembly |
| 12 | 29005-79645 | Bearing |
| 13 | 50908-140-50 | Center Bracket Assembly |
| 14 | 50901-010-16 | Shoe Mounting Spring |
| 18 | 50903-407-05 | Latch Pin |
| 19 | 29907-04810 | E" Ring |
| 20 | 50901-010-18 | Latch Pin Spring |
| 21 | 24209-32780 | Pin |
| 22 | 50908-117-50 | Connector Rod Assembly |
| 23 | 50903-405-04 | Spring Seat |
| 24 | 50901-010-14 | Operating Spring |
| 25 | 50908-137-51 | Yoke Assembly |
| 26 | 50908-141-01 | Calibration Plate |
| 27 | 50908-136-50 | Manual Release Nut Assy. |
| 30 | 50901-010-15 | Connecting Rod Spring |
| 31 | 50903-401-13 | Pin |
| 32 | 50903-402-04 | Locking Pin |
| 34 | 50908-101-50 | Shoe Assembly |
| 35 | 50903-808-56 | Shoe Lining Kit |
| 36 | 50908-127-50 | Outboard Shoe Lever Assembly |
| 37 | 50908-411-50 | Nut & Washer Assembly |
| 38 | 50908-109-01 | Adjusting Nut |
| 40 | 50903-404-05 | Lining Wear Indicator |
| 41 | 50903-401-16 | Pin |
| 42 | 50908-129-50 | Inboard Shoe Lever Assembly |
| 43 | 50908-119-50 | Connecting Rod Lever |
| 44 | 50903-401-14 | Pin |
| 45 | 50908-115-50 | Connecting Link Assembly |
| 46 | 50903-401-15 | Pin |
| 47 | 50908-139-01 | Armature Gap Indicator |
| 52 | 50903-809-56 | Assorted Hardware Package |
| 54 | 50903-814-56 | Self Adj. Shoe Mechanism Kit |
| 58 | 50908-158-01 | Connecting Rod |
| 61 | 50903-415-04 | Crank Pin |
| 62 | 50908-164-50 | Crank Assembly |
| 63 | 50908-160-01 | Ratchel Rod |
| 64 | 29013-02120 | Connecting Rod Bearing |
| 66 | 50901-003-02 | Spring |
| 67 | 50908-154-50 | Star Wheel Stop Nut Assy. |
| 68 | 50908-161-01 | Ratchet Rod Guide |
