Ohio Contact replacement crane controls for Clark D.C. Magnetic Contactor Type KD 150 Amp. When you locate the product(s) of your choice, please call 800–310–5999 or click on the part number below to email inquiry for pricing, availability or questions you need answered!

| Item No. | OEM No. | Description |
|---|---|---|
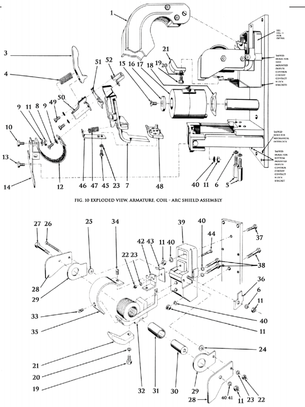
| 1 | KKD-151 | Assem. Arc Shield |
| 2 | KKD-150 | Contact Kit |
| 3 | A74-244363 | Movable Contact |
| 4 | KKD-152 | Movable Contact Spring |
| 5 | A74-243825-1 | Shoulder Bolt |
| 6 | T-155-14 | Washer |
| 7 | B74-243844-A | Armature Molding Assembly |
| 8 | T-121-8 | Slotted Hex Head Screw |
| 9 | T-155-11 | Thin Spring Lockwasher |
| 10 | T-121-13 | Contact Screw |
| 11 | T-115-25 | Hex Nut |
| 12 | KKD-154 | Conntector Kit |
| 13 | T-121-12 | Hex Head Screw |
| 14 | A74-243824-2 | Front Connector Plate |
| 15 | T-122-61 | Coil Retainer Screw |
| 16 | A74-243823-A | Coil Retainer |
| 17 | TB-109-1 | Encapsulated Coil 240 VDC |
| 17 | TB-109-2 | Coil 120V DC |
| 17 | TB-109-9 | Coil, 24 VDC |
| 18 | A74-243820 | Coil Spring Washer |
| 19 | A74-244395 | Stationary Contact Screw |
| 20 | T-155-13 | Thin Spring Lockwasher |
| 21 | A74-244356 | Stationary Contact |
| 22 | T-115-19 | Hex Nut |
| 23 | T-155-10 | Spring Lockwasher |
| 24 | A74-244360-2 | Spacer |
| 25 | A74-244360-3 | Spacer |
| 26 | T-120-142 | Brass Rd. Head Screw |
| 27 | T-121-34 | Hex Head Screw |
| 28 | A74-243809 | Blowout Ears |
| 29 | A74-243806 | Blowout Washer |
| 30 | A74-243808-2 | Blowout Core |
| 31 | A74-243807-2 | Blowout Core Inaulator |
| 32 | A74-244353-A | Blowout Core Assembly |
| 33 | T-122-110 | Stl. Flat Head Screw |
| 34 | T-123-15 | P.A. Rd. Head Screw |
| 35 | A74-243804-2 | Rear Arc Runner |
| 36 | A74-243805-2 | Blowout Clip |
| 37 | T-121-19 | Hex Head Screw |
| 38 | T-121-24 | Hex Head Screw |
| 39 | C74-243801 | Base Insulator |
| 41 | T-155-11 | Thin Spring Lockwasher |
| 42 | A74-243803 | Arc Shield Pivot Support |
| 43 | A74-243802 | Arc Shield Spring Clip |
| 44 | T-121-250 | Stl. Hex Head Screw |
| 45 | T-121-244 | Stl. Hex Head Screw |
| 46 | A74-243832 | Spring Retainer |
| 47 | A74-243833 | Spring |
| 48 | A74-243835-A | Pivot Support Assembly |
| 49 | T-132-20 | Stl. Fil. Head Screw |
| 50 | A74-243841-2 | Contact Spring Retainer |
| 51 | B74-243843-2 | Pivot Plate |
| 52 | A74-243842 | Clamp |
